隨著科學技術的進步和產品的技術更新,工業閥門的需求已有顯著變化,蝶閥的使用已從低壓供水發展到高溫、高壓、耐磨、耐腐蝕等領域。大量通用切斷和調節類閥門已被多層次金屬硬密封蝶閥所取代,該閥采用三偏心密封結構,吸收國外同類產品結構特點,適用于各總管道上,作截止或調節介質流量之用。其結構特點有:重量輕、結構緊湊、開啟迅速、密封性能可靠、輕便省力、使用壽命長和維修方便。該蝶閥廣泛應用在電力、冶金、石油、化工、煤氣、城市供熱等行業。
硬密封蝶閥的設計原理如下:
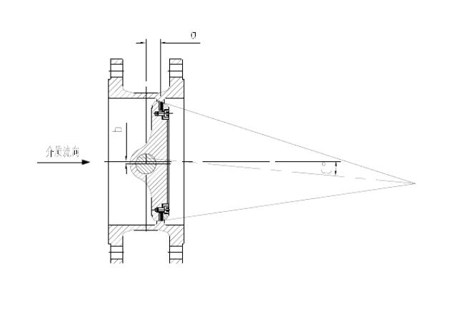
1、閥體、蝶板密封面形狀為橢圓錐形,閥體、蝶板密封錐面的中心線與閥體通道中心線有一偏心夾角c°。
2、閥體、蝶板密封面的中心線與閥桿軸有一個軸向偏心距a。
3、閥桿中心線與閥體中心線有一個徑向偏心距b。(如圖)

4、圖示偏心的存在使得蝶板密封面同閥體密封面在啟閉過程中不發生磨擦,使用壽命長。
5、采用三偏心密封結構,關閉時具有越關越緊的功能,密封性能可靠。
6、蝶板上的密封圈由不銹鋼薄板與柔性石墨壓合而成,即具有金屬的剛性,同時又具有非金屬的彈性,這樣一軟一硬組合成的密封圈使的閥門密封性能大大提高(迷宮式密封)。同時當向閥桿施加扭矩時,密封圈與閥座產生彈性楔塊效應,使得密封圈發生彈性徑向壓縮,從而用小的扭矩實現嚴密的切斷。并且密封圈位于蝶板上,不需拆卸閥門便可更換密封圈。
7、蝶板、閥座之間通過“漸進式樣”自補償來保持始終不變的密封效果(即越關越緊),無夾持。即密封副磨擦后,可以通過蝶板位置的推進來補償。蝶板、閥座之間不存在卡阻、擠壓,閥門的密封性不受溫度變化的影響。
8、因密封面錐角小于密封材料的摩擦角,蝶板關到密封位置時立即實現自鎖,并能承受一定的反向壓力沖擊;當閥門承受逆向壓力時,由于偏心b的存在,使的閥門有開的傾向,這樣首先要保證閥桿的剛度才能使的閥門密封圈維持原位不動,所以雙向閥門設計采用閥桿直徑遠大于單向閥門閥桿的所需直徑,再則通過蝸輪驅動裝置向閥桿施加扭矩抵消逆向承受的壓力,從而達到雙向密封的效果。
9、蝶板剛度好,在閥板全關位置時,能阻止密封圈過度變形而損壞整個密封副引起的閥門泄漏。